2017年
起步与定位
2017年,敦和正式获得商标代理机构资质,开启了商标代理服务的新篇章。彼时,商标申请数量正处在高速增长期。与传统单纯的代理机构不同,我们充分利用自身在打假与诉讼业务中的优势,针对客户在维权过程中衍生的商标问题,提供精准、高效的解决方案。
同年,恰逢国家工商行政管理总局发起打击商标侵权的“溯源”专项行动。敦和在此次行动中代理ASICS(爱世克私/亚瑟士)品牌,成功在全国范围内打击了多个山寨品牌,涉及店铺多达百余家。之后,我们依据行动中获取的关键证据,协助ASICS对数十个山寨商标提出异议和无效宣告:“AISASSA仿虎爪图形商标二审被维持无效宣告”。

此外,敦和也在2017年拓展了著作权(版权)登记代理服务。除了常规的版权登记,我们还创新性地引入时间戳等工具,帮助客户在正式登记前固化作品的相关信息,有效降低了后续在创作时间、创作人认定等方面产生争议的风险。

(图片由AI生成)
2018年
深化与突破
2018年,我们持续将打假维权领域的经验融入商标确权业务,并取得了显著突破。其中最具代表性的案例,是代理CASIO(卡西欧)品牌成功无效宣告了某公司名下的8件系列山寨商标。在该系列案件中,商标评审委员会认定被申请人的行为违反了诚实信用原则,扰乱了商标注册秩序,损害了公平竞争的市场环境。此案成为敦和首次在商标评审程序中成功适用绝对条款的里程碑。除CASIO的无效宣告案外,2017年对一系列山寨ASICS品牌商标提起的异议、无效案件亦凭借扎实的行政打击证据收获了成功的果实。
2019年-2022年
法规变革与前瞻布局
2019年,《商标法》迎来了第四次修改,修订的核心在于通过立法手段进一步遏制商标恶意注册行为,并将此种行为明确列为无效宣告的绝对理由。
商标行业早期粗放式的发展,导致了大量抄袭、抢注及囤积商标的现象。这些行为的积累不仅使新商标的注册变得日益艰难,也使得山寨商标侵权案件频发。敦和始终对商标注册秩序与公平竞争的市场环境怀有高度敬畏,因而一直将协助权利人打击知识产权侵权行为作为核心使命。在商标注册的查重环节,我们同样严格筛查,竭力杜绝任何抄袭与抢注的可能。如何为商标行业的健康、有序发展贡献一份力量,是我们永恒的课题。
19年《商标法》实施后的几年里,我们对山寨商标保持着高强度的打击态势,除了以往通过打击工作助力商标异议、无效工作外,我们也在发掘更为高效处理山寨商标问题的方案。在办理VANS(范斯)品牌的诉讼案件中,我们发现大量被告名下均持有山寨商标,通过谈判,我们成功令多名被告自愿注销或转让名下商标,通过以诉讼促注销/转让的维权模式在后续办理CHROME HEARTS(克罗心)、HERMES(爱马仕)、LULULEMON(露露乐檬)等品牌的案件中亦多次取得成果,该模式的实施大幅减少了处理的周期(节约9个月以上),亦为权利人降低了维权的成本。
除专注商标评审案件外,我们还精心打磨,起草了《企业商标管理规范》,该规范涵盖了商标开发、申请与确权、日常使用与证据留存、入库与管理、品牌化建设、侵权监控与防范以及效果评价等多个环节的管理指导。我们希望通过这一法律产品,引导企业对其持有的商标进行规范化管理,从而有效促进商品或服务的销售,并推动品牌建设的良性发展。

(图片由AI生成)
2023年
组织升级与战略协同
2023年,“敦和商标版权授权确权委员会”(简称“商标版权委”)的成立,为商标部门注入了新的活力。团队的组建进一步推动了商标与版权授权确权工作的专业化与系统化发展。
同年,《中华人民共和国商标法修订草案(征求意见稿)》正式公布。商标版权委对草案进行了细致研读。征求意见稿明确指出,现行《商标法》在实践中主要存在以下不足:一是“重注册、轻使用”,注册前对使用意图不强,注册后对使用义务关注不够;二是打击商标恶意注册的范围和力度偏弱,全流程管控和严厉打击的措施不够有效;三是商标授权确权程序较为复杂,互相之间缺少协调,遏制程序滥用和保障当事人程序利益的规范仍需完善;四是加强商标保护的规定有待充实,对互联网商标侵权行为规制不足,驰名商标保护规则不够健全;五是商标法律制度滞后于“高质量发展”的时代要求,促进商标运用和完善公共服务的法治支持不足,需要完善法律法规以更好落实国务院“放管服”改革精神。
针对草案说明中提到的这些问题,我们发现在多个关键点上,我们的服务理念与新法的改革方向高度契合。在注册与使用环节,我们始终建议客户根据实际需求进行注册,适当进行防御布局,科学规划商标使用方案,并确保注册商标的规范使用。在打击恶意注册及利用恶意商标谋取不正当利益的行为方面,敦和一直走在行业前列。至于授权确权程序的复杂性、商标保护以及互联网商标侵权规制等挑战,敦和通过《企业商标管理规范》的推广与应用,协助客户高效管理并促进商标的实际运用;同时,结合调查打击与诉讼服务,全面实现商标的有效保护。从商标的早期布局规划,到后续的使用与维权,我们始终坚持为客户提供高品质的专业支持。

(图片由AI生成)
2024年
持续探索与多元输出
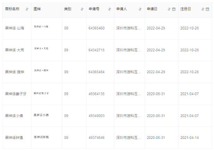
2024年,商标版权委继续紧跟行业前沿,从未停止对商标版权业务的深入研究。我们针对阿里云、腾讯云退出商标代理业务的事件,分析了商标代理服务未来的发展趋势;就商标法中“不良影响”条款的适用问题和层出不穷的“恶意申请”问题,从专业角度进行了深度评述;分享了关于三维标志商标授权确权的典型案例;即便在闲暇游戏时,我们亦未忘主业,结合热门游戏《黑神话:悟空》,深入剖析了热门游戏IP中所蕴含的复杂知识产权问题及其争议焦点。

2025年
应对变革与引领规范
2025年,商标业务领域变化最为显著的当属“撤三”(连续三年停止使用注册商标的撤销)业务。新的规定对举证责任提出了更高、更专业细致的要求,审查标准也更为严格精细。这对当事人和代理机构而言,都是全新的挑战。我们对此进行了深入的剖析,发表了《商标撤三制度深度变革:审查的精细化与博弈格局的重构》。
面对“撤三”业务的改革,商标版权委迅速反应,及时制定了《撤三操作指南》与《商标使用证据留存指南》。一方面,对内规范了撤三案件的操作流程,确保服务质量;另一方面,对外指导客户规范使用商标,并系统留存有效的商标使用证据,以防范注册商标被申请撤销的风险。
十年耕耘,敦和始终高度重视商标与版权的授权确权工作。展望未来,新《商标法》的实施将为整个知识产权行业带来挑战与机遇。我们将继续秉承“专业守护创新”的使命,以十年沉淀的实务经验为根基,通过体系化的法律产品矩阵,助力企业在法治轨道上行稳致远。我们已准备好与行业同仁共同迎接这场深刻变革,用专业力量护航中国品牌探索星辰大海。
-END-
[如需转载,请联系我们获得授权]
撰稿|张骏飞、齐振凯
审核|肖宴明 校对|黄鸿宇 编辑|陈丝华
保持热爱,共赴山海
敦和律所期待您的加入!
Tel:020-38847887